IBM取得“虚拟现实+3D打印”建筑设计新专利
2025年7月2日,IBM宣称已获得美国专利商标局一项名为“建造虚拟现实设计的建筑”的专利,它是一种辅助在虚拟现实中设计3D打印建筑的新方法,专利编号US12340150B2。

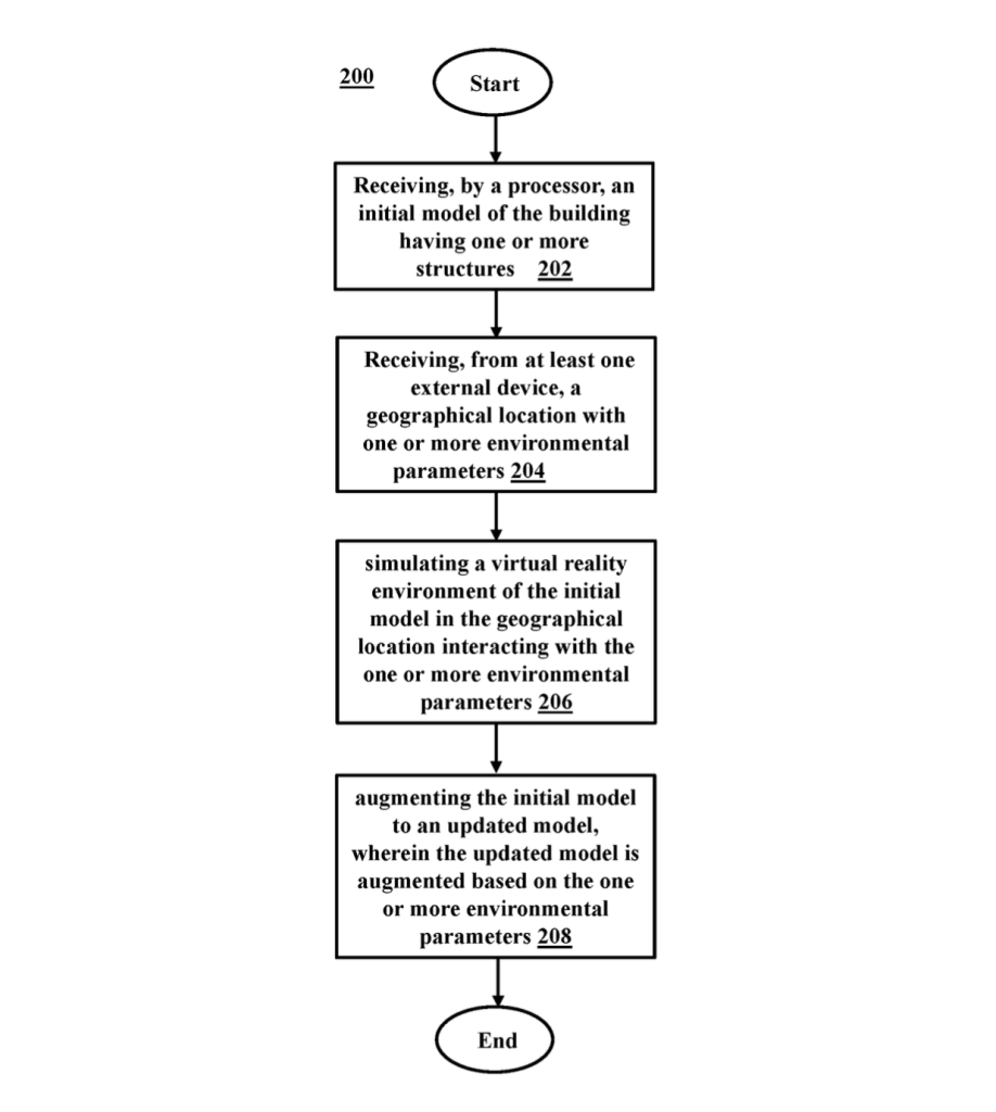
IBM新专利最初于2021年6月提交,并于2022年12月发布,现已具备法律效力,标志着IBM在智能建筑设计与3D打印领域的又一重要突破。该专利提出了一种创新流程,利用VR技术在建筑施工前对设计进行动态模拟。通过集成模拟引擎模块,系统可真实还原建筑在实际环境中的噪音、气流、照明和温度等关键因素,让设计团队和终端用户在虚拟空间中提前体验建筑的功能与舒适性。建筑师可根据用户反馈,提出如更换降噪材料或调整窗户位置等设计修改请求,系统将自动生成并整合相应调整,形成更新后的蓝图。最终,优化后的设计方案可无缝对接3D打印设备,实现高效精准的建筑施工。

专利文件指出,这种方法极大提升了建筑设计的用户参与度和功能优化能力,有效降低了后期施工变更带来的成本风险。尤其对于3D打印建筑结构而言,成型后难以修改。专利的共同发明人包括IBM工程师Subha Kiran Patnaikuni和应用架构师Sarbajit K. Rakshit。Rakshit拥有近二十年行业经验,曾获4D打印药物输送及全息图3D打印等多项专利。Patnaikuni则专注于VR、AI、物联网(IoT)、机器人及传感器技术,早期曾参与数字孪生疏散系统及基于ML与IoT的机器人防护屏障等创新项目。

IBM获得VR设计的3D打印建筑新专利
“建造虚拟现实设计的建筑”与传统建筑方法相比,3D建筑打印技术能够降低成本、减少建筑废料、缩短施工周期,并提升设计的自由度。专利强调,无论是采用3D打印还是传统方法,建筑物的位置和环境因素对于长期的用户满意度至关重要。忽视这些因素可能导致建筑完工后需要昂贵且不切实际的改造。IBM的方法通过确保建筑在施工前满足所有必要标准和用户期望,旨在降低这些风险。
IBM的流程从上传建筑的2D或3D数字蓝图至计算机程序开始。蓝图中通常包含墙体位置、窗户尺寸、房间布局、通道、拱门以及建筑材料等设计特征。接下来,IBM系统会收集拟建建筑工地的具体环境数据,包括但不限于气象卫星、传感器、物联网设备和环境监测系统所提供的信息。这些数据涉及噪音水平、天气状况、气流、阳光模式和潜在视觉障碍,为程序提供了详细的环境洞察。系统还能够模拟用户指定的天气条件。
这些数据用于创建建筑物的3D数字重建,并将融入精确的虚拟模型中。设计师可以使用VR设备,深入建筑内部,观察环境因素如何影响室内环境。若发现照明不足或附近火车轨道噪音过大等问题,设计师可以立即请求修改设计,如增加隔热窗或加厚墙体。系统会自动应用这些修改,允许建筑师快速评估影响,并提供实时反馈。根据用户定义的参数,系统还能自动提供设计建议。设计完成后,可导出并直接发送至3D打印机进行施工
总的来说,这种新技术不仅适用于住宅建筑(如公寓、别墅),更覆盖用户希望在特定地理位置建造的各类结构。考虑到IBM在数字基础设施和人工智能领域的深厚积累,VR-3D打印工艺在数据中心等高复杂度设施的设计中展现出巨大潜力。数据中心对温控等环境因素有极高要求,而该系统可在设计早期模拟并优化相关参数,为云服务、AI模型训练及边缘计算等关键应用提供有力支持。
(责任编辑:admin)


3D打印可生物降解支架为改
MagNEO:3D打印将帮助欧洲
萨博联合Divergent研发5米
REM与尼康增材签署谅解备
营收1.37亿美元微降,Stra
IREC首次推出高效陶瓷氢燃
突破性生物3D打印
迪拜LEAP 71公司
3D生物打印构建内
《Small Science
